{{ 'fb_in_app_browser_popup.desc' | translate }} {{ 'fb_in_app_browser_popup.copy_link' | translate }}
{{ 'in_app_browser_popup.desc' | translate }}
{{ childProduct.title_translations | translateModel }}
{{ getChildVariationShorthand(childProduct.child_variation) }}
{{ getSelectedItemDetail(selectedChildProduct, item).childProductName }} x {{ selectedChildProduct.quantity || 1 }}
{{ getSelectedItemDetail(selectedChildProduct, item).childVariationName }}
Buy Together and Save More (At most {{ addItemQuantity }} item(s))
Not enough stock. Your item was not added to your cart.
Not enough stock. Please adjust your quantity.
{{'products.quick_cart.out_of_number_hint'| translate}}
{{'product.preorder_limit.hint'| translate}}
Limit -1 per order.
{{'products.quick_cart.quantity_of_stock_hint'| translate : {message: quantityOfStock} }}
The Predator is made of 1st Class aircraft silicone material to be especially tough, resistant to wear, and extreme temperatures, which reduce deterioration of the bucking. Even when using GBB, the Predator keeps the hop-up working in temperature as low as -60°C.

Predator bucking’s effect on accuracy and range
How it works
Predator’s design is inspired by the R-hop that maximizes contact with BBs when the bucking is depressed. Coupled with perfect airtightness in the barrel, the increased friction enhances backspin on fired BBs to improve accuracy and shooting range.
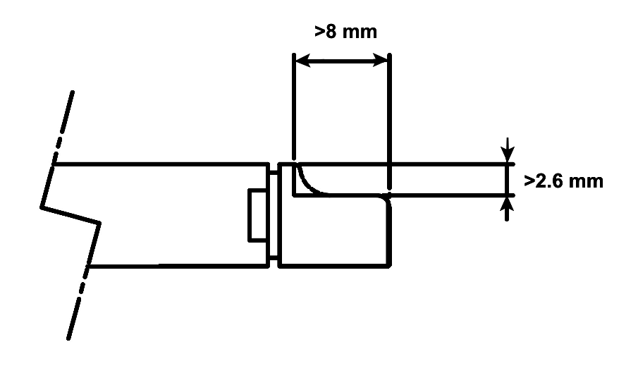
Shaped like a fighter jet, Predator points to the muzzle in a V-shape with a central bullet-channel that deepens, widens from back to front. BBs enter the V where it is deep but wide then narrow but shallow. Finally, BBs are guided along the bullet-channel to the small end of the V where they are positioned and back-spun to achieve accuracy.
Pressing down on the bucking spreads the BB entry channel to increase contact and friction. The V opening has “wings” on either side to connect to the inner barrel opening to position BBs with maximum contact, also preventing the rear section of the depressor from deforming.
BBs are then pushed by airflow to the tiny platform of the V, where the friction drops drastically, to travel straight driven by the airflow into the inner barrel with continual backspin.
***The Predator works the best with the inner barrel opening at the dimensions below***
