{{ 'fb_in_app_browser_popup.desc' | translate }} {{ 'fb_in_app_browser_popup.copy_link' | translate }}
{{ 'in_app_browser_popup.desc' | translate }}
{{ childProduct.title_translations | translateModel }}
{{ getChildVariationShorthand(childProduct.child_variation) }}
{{ getSelectedItemDetail(selectedChildProduct, item).childProductName }} x {{ selectedChildProduct.quantity || 1 }}
{{ getSelectedItemDetail(selectedChildProduct, item).childVariationName }}
Buy Together and Save More (At most {{ addItemQuantity }} item(s))
Not enough stock. Your item was not added to your cart.
Not enough stock. Please adjust your quantity.
{{'products.quick_cart.out_of_number_hint'| translate}}
{{'product.preorder_limit.hint'| translate}}
Limit -1 per order.
{{'products.quick_cart.quantity_of_stock_hint'| translate : {message: quantityOfStock} }}
**Passed Utility Patent Approval**
**OTs-126 Spare Parts: 65 DEG.**
X-Range, short for Extend-Range, is designed to give airsoft players an even longer range. It can hop BBs up to 0.5g easily.
X-Ranges, and X-Ranges, and how they affect your accuracy and shooting range??
The X-Range design was inspired by the R-hop, with the goal of maximizing contact with BBs when the bucking is depressed. That increases friction to produce topspin as well as air seal inside the barrel to achieve maximum range.
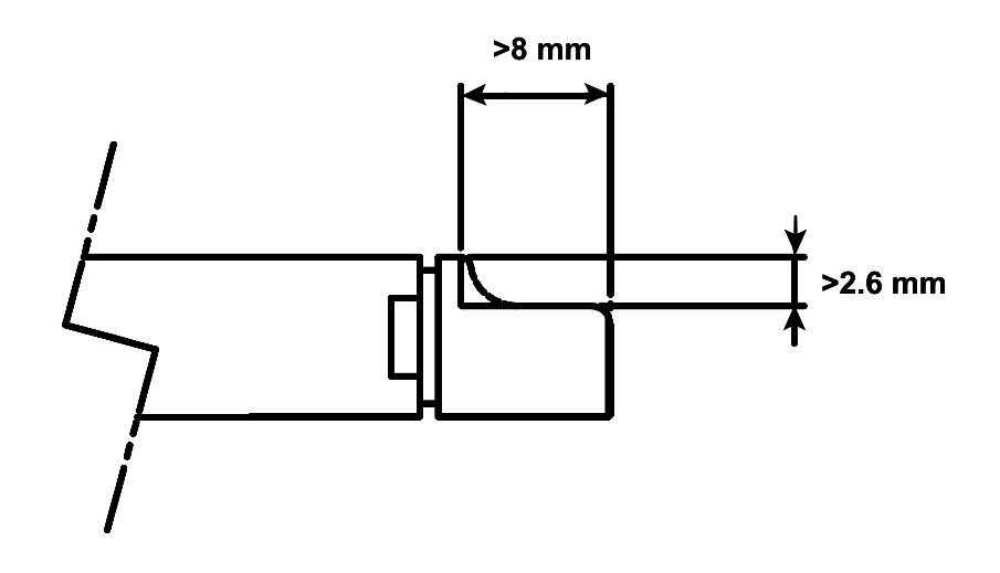
1. The X-Range is the bell- or cup-shaped with the wider end facing the loading nozzle.
2. With a 2-stage channel, the X-Range’s bell configuration is shallow to deep. BBs are loaded into the shallow, narrow end to move to the mid-section where it is deeper and wider. Such channel configuration assures perfect BB positioning to also produce topspin to result in an accurate trajectory. The shallow channel end of the loading nozzle widens when the bucking is depressed, increasing contact, friction with BBs. The bell opening has “wings” on either side to form a bridge to the inner barrel window, being a solid, wide structure at the inner barrel entry to hold BBs that also prevents the rear section of the depressor from deforming. Friction against BBs drops dramatically when moved by air from the shallow to the deeper channel section, with BBs pushed straight along the channel by air to the bottom of the bell to enter the inner barrel with continuing topspin.

The X-Range is made of 1st Class aircraft silicone material to be especially tough, resistant to wear, and extreme temperatures, which reduce deterioration of the bucking. Even when using GBB, the X-Range keeps the hop-up working in temperature as low as -60°C.

***The X-Range works the best with the inner barrel opening at the dimensions below***
