{{ 'fb_in_app_browser_popup.desc' | translate }} {{ 'fb_in_app_browser_popup.copy_link' | translate }}
{{ 'in_app_browser_popup.desc' | translate }}
{{ childProduct.title_translations | translateModel }}
{{ getChildVariationShorthand(childProduct.child_variation) }}
{{ getSelectedItemDetail(selectedChildProduct, item).childProductName }} x {{ selectedChildProduct.quantity || 1 }}
{{ getSelectedItemDetail(selectedChildProduct, item).childVariationName }}
➤ Three Hardness Options
➤ Special Airtight Design
➤ Bi-Point Design
➤ Superior Tear Resistance
➤ Excellent Temperature Properties
➤ High Abrasion Resistance
➤ Passed Utility Patent Approval
Buy Together and Save More (At most {{ addItemQuantity }} item(s))
Not enough stock. Your item was not added to your cart.
Not enough stock. Please adjust your quantity.
{{'products.quick_cart.out_of_number_hint'| translate}}
{{'product.preorder_limit.hint'| translate}}
Limit -1 per order.
{{'products.quick_cart.quantity_of_stock_hint'| translate : {message: quantityOfStock} }}
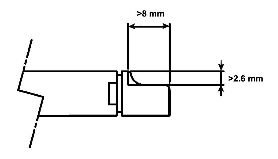
X-Ranges, and how they affect your accuracy and shooting range
The X-Range design was inspired by the R-hop, with the goal of maximizing contact with BBs when the bucking is depressed. That increases friction to produce topspin as well as air seal inside the barrel to achieve maximum range.

The X-Range is made of silicone material to be especially tough, resistant to wear, and extreme temperatures, which reduce deterioration of the bucking. Even when using GBB, the X-Range keeps the hop-up working at low temperatures.

***The X-Range works the best with the inner barrel opening at the dimensions below***
